一、技術領域0o01實用新型涉及一種在測量流體流速的電磁流量計中,用于判斷管道中是否存在液體介質的裝置,即空管檢測裝置。該裝置不需要在測試管上增加測量電極,而是直接在電磁流量計現有的測量電極上,施加激勵電流的方式來檢測管內流體介質的電導率,以此作為判斷是否為空管狀態的依據。該裝置不僅適用于液固兩相流體,而且還可用于其他需要測量流體(包括液體和液固兩相流體)電導率
二、背景技術電磁流量計是利用法拉第電磁感應原理在一個激勵磁場下流體切割磁力線產生感應電勢來進行測量,傳感器兩電極輸出與流體流速成正比的感應電勢。因此,電磁流量計主要是一種測量流體流速的儀器。由于空管會造成電磁流量計的電極暴露在空氣中,容易引入電磁騷擾,造成電磁流量計錯誤的輸出流速信號:隨著電磁流量計的應用越米越多,希望電磁流量計在技術上能具有對流體導電率或內阻進行定量監測的能力,當檢測到電磁流量計是空管時,則無條件的輸出零流速。目前有采用電容耦合高頻方法來判別傳感器空管故障的流體電導率相對變化值檢測方法,但采用相對電導率檢測存在對低電導率流體測量不準確的問題,且對于液固兩相流體的電導率不穩定,測量非常容易出現誤判空管的情況;中請號為9193261.3利用附加峰峰值為14V頻率為0.5Hz的方波交流激勵來連續檢測空管,不極化電極且可使用高分布電容的電纜來工作但由于空管檢測信號小于激勵頻率很容易受到由實際流體流動所產生的流量噪聲所影響,且0.5激勵信號與工頻50信號難以分離,不適用于工頻正弦交流勵磁。有公開號為CW7310采用串接激勵的方法解決電磁流量計對低電導率流體測量的技術。公開號為CN7604采用并聯式激勵實現了對流體測量實時動態監控。然而公開號為CN173106、CN1760643A均存在同樣的問題,對于正弦交流勵磁來說,其采取的激勵措施使得附加激勵產生的流體阻抗信號與磁場激勵下的流量信號難以分離,彼此之間存在干擾的現象難以消除,使得測量結果可能不準。公開號為CN01718565A采用電極兩端串接由光電轉換器產生的激勵信號,提供了一種既能保持在磁場激勵下的高性能流量測量特性,又能在附加電勢激勵下對電極兩端間流體阻抗進行監測,但電路結構相對復雜化,同時由于不能連線測量流體阻抗,所以不適用工頻正弦交流勵磁的電磁流量計。因此,對于采用工頻正弦交流勵磁的電磁流量計,對流體電導率或內阻進行定量的動態監測還沒有較為理想的方法應用于產品中,一定程度上妨礙了電磁流量計向低成本、多功能化和高可靠性方面的發展
三、附圖說明
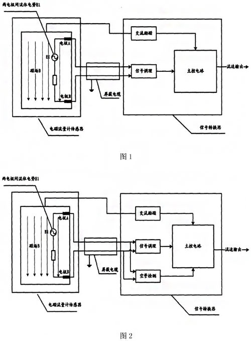
圖1是一種原有電磁流量計的電路結構示意圖圖2是一種原有帶空管檢測的電磁流量計的電路結構示意圖圖3是一個電極與地之間施加空管檢測信號的電磁流量計的電路結構示意圖圖4是兩個電極之間施加空管檢測信號的電磁流量計的電路結構示意圖五、具體實施方式見圖1示意圖中,電磁流量計傳感器在交流勵磁下,產生交變磁場,導電流體在交變磁場中切割磁力線產生感應電勢E1,通過屏蔽電纜輸出至遠端信號轉換器的主控制電路板,在主控制電路板上輸出流速信號并顯示見圖3、圖A示意圖中,由CPU控制口產生周期為16us的高頻激勵,經模擬轉換為高頻正弦激勵E2,該i正弦激勵直接施加在,電磁流量計傳感器的其中一個電極與地或者是兩個電極之間,(圖3是一個電極與地之間施加空管檢測信號的電磁流量計的電路結構圖,圖4是兩個電極之間施加空管檢測信號的電磁流量計的電路結構圖):由此產生被測流體內阻R1的測量信號U1,該測量信號U1與流體內阻R1成線性關系U1=K*R1(K為已知系數),不可避免的是流體內阻測量信號與流體流速測量信號同時存在,二者混在一起,再經過高通濾波電路將空管檢測信號提取出來,此時對流速信號衰減在604B以上,經CP實時采樣并經過數字濾波后,與設定的閱值(可調參數)相比較,若判斷為空管,則v發出zcro信號,立刻閉合開關K1關閉流速測量信號,使信號轉換器顯示為零,否則斷開開關K正常輸出流速信號。而電極上流速測量信號經過低通濾波電路,此時對空管檢測信號衰減60u8以上,再經過信號調理電路后輸出流速信號,實現與空管檢測信號相互分離,從而保證流速測量的準確度008]見圖2示意圖中,是一種原有的帶空管檢測的電磁流量計的電路結構圖,由于電纜分布電容的影響,該分布電容對高頻率的空管檢測信號有一定的損耗,特別是長距離的屏蔽電纜,會直接影響到空管檢測信號對于流體電導率的測試,所以該結構并不適合,本實用新型提出的高頻率信號空管檢測方式。結合圖3和圖4可以看出為了保證微弱的空管檢測信號不失真的傳輸,空管檢測裝置就近放置于傳感器出線處(傳感器內部),進行信號處理后再通過屏蔽電纜傳輸,從而解決了高頻率空管檢測信號對電纜分布電容大小的要求009由于電磁流量計傳感器與信號傳換器之間通常只有用于傳輸流速信號的二芯屏數電纜,并沒有低壓直流電源供給電纜,為了滿足通用的安裝習慣,不對空管檢測裝置另外增加供電電纜,空管檢測裝置的供電電源使用二芯屏蔽電纜的其中一根導線進行供電,另外一根導線用于傳輸經過調理后的流速信號;實現直流供電與信號傳輸共用一根二芯屏蔽電纜0020根據不同的使用環境,信號傳換器需要調整空管檢測裝置的空管閱值參數設置時,則使用數字信號調制方式,該信號疊加在供電電源的電纜上進行傳輸,方便在現場調整空管檢測裝置的參數,滿足不同的使用條件。由于數字編解碼是已知的技術,所以在這里不詳細進行說明

上一條:
電磁流量計使用時面板怎么設置?
下一條:
電磁流量計在應用中要注意的17個要點總結